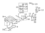
Floor Pan Heat Shield Rivet - Mazda (B25D56398)

Floor Pan Heat Shield Rivet - Mazda (B25D56398)

  • Sale Price: $0.63 CAD
Manufacturer Warranty Minimum of 12 Months
Guaranteed Fitment Always the correct parts
Shop with Confidence Your information is safe
In-House Experts We know our products

Details

  • Brand:

     Parts

  • SKU:

    B25D56398

  • Other Names:

    Muffler Shield Rivet, Tank Shield Rivet, Rear Support Rivet, Tank Shield Clip, Under Cover Rivet, Shield Rivet, Resonator Shield Rivet, Cover Rivet, Stud

  • Description:

    Fwd. Fuel tank components. With awd. 2.3L. 2.0L without skyactiv. 2.5L.

Vehicle Fitment

Vehicle Fitment
Year Make Model Body & Trim Engine & Transmission
( more fitments)
No fitment data available

Mazda of Brampton

Shop authentic Mazda parts here at Parts Mazda of Brampton. Our entire catalog of Mazda
parts and accessories are genuine straight form the original manufacturer. Use our VIN
lookup tool to ensure that you have the perfect fit for your vehicle. Orders can be
shipped directly to your door!